A power battery system hierarchy diagram used by the original company for training.

Among them, the battery management system (Battery Management System) BMS , the function is to carry out the overall and individual management of the battery cells and modules. Including the monitoring and intervention of voltage, current and temperature, to ensure that the voltage, current and temperature of the battery system operate within the safe range of control. The purpose is to provide the status of the battery as accurately as possible, predict the remaining battery power, prolong the battery life, etc.

If you want to subdivide, the functions of the battery management system are data acquisition, state estimation, data display, thermal management, data communication, safety management, energy management and fault diagnosis.

The current BMS can be roughly divided into a centralized architecture and a distributed architecture.
Centralized Architecture
The integrated design of the slave control module and the main control module will integrate the functions of single cell voltage acquisition, battery temperature, plug temperature acquisition, current acquisition, insulation detection , total voltage detection, charge and discharge control and communication functions. The high and low voltage are separated, detected and communicated separately.

The advantage of this is that the product has strong anti-interference ability and small product size. It is suitable for scenarios with low battery capacity, low total voltage, and limited battery system volume.
Early hybrid vehicles (power battery capacity is not large, such as mild hybrid vehicles) basically adopted the centralized architecture of BMS. This centralized architecture is used by current electric forklifts, two-wheeled electric vehicles, and electric sightseeing vehicles.
Distributed Architecture
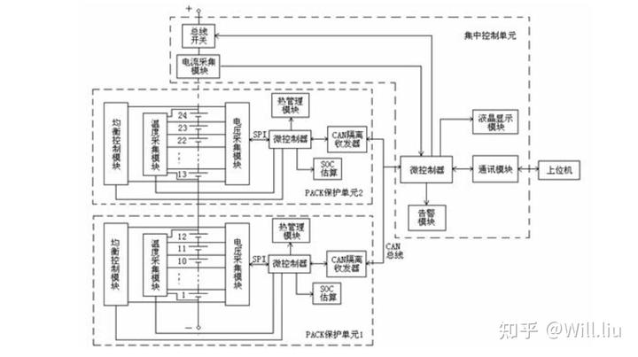
With the development of electric vehicles, the capacity and volume of power batteries have become larger and larger, and the voltage has begun to rise all the way to high voltages of 800V-1000V. The BMS on hybrid vehicles and pure electric vehicles with large batteries is basically the same. The distributed architecture is adopted.
Distributed battery management is mainly composed of multiple slave control modules, master control modules, and high-voltage control units.

The advantage of the distributed architecture is that it can carry out hierarchical management at the Module level and the Pack level.
The slave control module detects cell voltage, temperature, balance management, and diagnosis.
The high-voltage control module monitors the total voltage of the power battery, bus current, and insulation resistance.
The main control module accepts the data of the slave control module and the high-voltage control module, evaluates the power battery system, detects the system status, and performs thermal management, operation management, charge and discharge management, diagnosis management, and internal and external communication management.
The battery management system of Tesla Model 3 is a distributed architecture with one master and four slaves . The slave control module (SLAVE) is responsible for cell voltage detection and temperature detection. The main control (MASTER) is responsible for high-voltage sampling, current detection, external CAN communication, etc.

The BMS architecture of the famous Audi E-tron is a distributed architecture with 1 master and 12 slaves.

The following are common management modules for BMS:
- Single cell voltage detection
- temperature check
- High voltage system voltage detection
- Bus total current detection
- SOC estimation
- SOH estimation
- Power Limit Estimation
- Charge and discharge management
- Equalization function
- Insulation resistance detection
- High Voltage Interlock (HVIL) Detection
- Collision signal detection
- Collision power failure management
- Bus communication function
- Charging function
- Overcharge/overdischarge/overtemperature protection
- Diagnostic function
Personally, I feel that the basic difficulties are covered, because every project has difficulties and is also very important.
such as temperature detection
According to the requirements, it is necessary to detect the temperature of the single cell, the internal temperature of the battery module, and the temperature of the special point inside the battery system.
The temperature collection range is -40°C-125°C, the collection period is less than 1S, the sampling error in the whole temperature range is not greater than ±2°C, and the sampling error in the range of 0°C-50°C is not greater than ±1°C.
But in fact, a lot of power batteries that are mass-produced and installed in vehicles are now only equipped with module temperature detection heads (a dozen to hundreds of cells are assembled into modules) considering the cost factor, and the number of detection points is one , There are two, then what should be done with multiple temperature detection points, we use thermal simulation to estimate, as for whether the estimation is accurate, it is really hard to say.

One of the reasons why so many detection points are arranged is the non-uniformity of temperature distribution in the battery pack, while BMS tries to control the temperature of each single cell of the battery as much as possible. If the temperature difference between different cells is greater than 8°C, it will affect the consistency of the cells, thereby reducing the service life of the overall battery and increasing the risk of thermal runaway.
Another reason is that the temperature detection point must be able to reflect the local extreme temperature inside the module and have the ability to detect disconnection and short circuit faults. This allows timely identification of what is going wrong, allowing the risk of spreading to be contained precisely before the temperature gets out of control.
Qualified temperature detection is the basis for avoiding safety accidents in the power battery . Even if the danger cannot be effectively controlled, at least an early warning can be given, so that the driver and passengers have time to escape from the cockpit.
Collision power failure management
The requirement is that once a crash signal is detected, such as a hard-wired signal from an airbag or a crash signal from a CAN network, the capability of the high voltage output should be disconnected, cutting off all high voltage circuits.

However, we still sometimes see electric vehicles that collide and catch fire. In fact, many times it is not the combustion caused by the thermal runaway of the battery, but the problem of collision power failure management.
Earlier, after a BYD electric taxi collided with a sports car, BYD’s body caught fire due to the violent collision, and finally the driver and passengers burned to death in the cockpit. The initial analysis is the deflagration phenomenon caused by the damage of the power battery after the collision. As a result of the investigation, it was found that it was not the problem of the power battery, but that the high-voltage circuit in the car did not cut off all the high-voltage circuits in the first time of the violent collision. The short-circuit caused by the rupture of the high- voltage line catches fire, and the short-circuit arc instantly generates a high temperature of thousands of degrees Celsius, which ignites the combustibles in the car and forms a fire.
At that time, BYD electric vehicles were probably 400V high-voltage systems, while current electric vehicles go to 800V-1000V high-voltage systems, so the management of collision and power failure is particularly important.
SOH estimation
state of health, including battery failure and battery deterioration.
The failure of the battery is an early warning performance of the health of the battery, such as whether the voltage, current, and temperature of the battery deviate from normal, such as whether the SOC has deviate from the rated range, such as whether the self-discharge rate and internal resistance have reached the limit value, etc.
The deterioration of the battery is reflected in the attenuation of capacity (at normal temperature, not low temperature) and the increase in internal resistance.

However, because voltage, current, and temperature all affect the SOH, the data is complex and the cycle is long, it is difficult to accurately and deeply evaluate the battery SOH indicators by both the experimental analysis method and the model analysis method.
This also means that our consumers do not actually know the real state of the battery during use, such as how long the cycle life is left, and how long is the calendar life left.
(Picture source network, invade and delete!)
Source: Zhihu www.zhihu.com
Author: Will.liu
[Zhihu Daily] The choice of tens of millions of users, to be a big cow of new things in the circle of friends.
click to download
There are 13 more answers to this question, see all.
Further reading:
Power battery cascade utilization?
This article is reproduced from: http://www.zhihu.com/question/323377560/answer/2516460654?utm_campaign=rss&utm_medium=rss&utm_source=rss&utm_content=title
This site is for inclusion only, and the copyright belongs to the original author.